全部科目 > 程序员 >
2011年上半年 下午试卷 案例
第 1 题
知识点 查找  
 
 
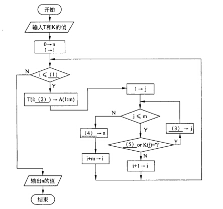
下面的流程图可在正文字符串T(1:L)中计算关键词字符串K(l:m)出现的次数(用n表示)。其中,L为字符串T的长度,m为字符串K的长度(m<L)„为便于模糊查找,关键词中的字符“?”可以匹配任意一个字符。
在该流程图中,先从T中取出长度为m的子串存入A中,再将A与K进行逐个字符的比较(其中,K可以包含字符“? ”)。注意:从正文字符串中取出的关键词字符串不允许交叉。例如,“aaaaaa”中有3个关键词字符串“aa”。
【流程图】
 
问题:1.1   阅读以下说明和流程图,填补流程图中的空缺(1)〜(5),将解答填入答题纸的对应栏内。




 
 
 
知识点讲解
· 查找
 
        查找
        1)顺序查找
        顺序查找又称线性查找,顺序查找的过程是从线性表的一端开始,依次逐个与表中元素的关键字值进行比较,如果找到其关键字与给定值相等的元素,则查找成功;若表中所有元素的关键字与给定值比较都不成功,则查找失败。
        2)折半查找
        折半查找的过程是先将给定值与有序线性表中间位置上元素的关键字进行比较,若两者相等,则查找成功;若给定值小于该元素的关键字,那么选取中间位置元素关键字值小的那部分元素作为新的查找范围,然后继续进行折半查找;如果给定值大于该元素的关键字,那么选取比中间位置元素关键字值大的那部分元素作为新的查找范围,然后继续进行折半查找,直到找到关键字与给定值相等的元素或查找范围中的元素数量为零时结束。
        3)分块查找
        在分块查找过程中,首先将表分成若干块,每一块中关键字不一定有序,但块之间是有序的。此外,还建立了一个索引表,索引表按关键字有序。分块查找过程需分两步进行:先确定待查记录所在的块;然后在块中顺序查找。
        4)哈希表及其查找
        根据设定的哈希函数H(key)和处理冲突的方法,将一组关键字映射到一个有限的连续地址集上,并以关键字在地址集中的像作为记录在表中的存储位置,这种表称为哈希表,也称散列表。这一过程所得到的存储位置称为散列地址,由此形成的查找方法称为散列查找。



更多复习资料
请登录电脑版软考在线 www.rkpass.cn

京B2-20210865 | 京ICP备2020040059号-5
京公网安备 11010502032051号 | 营业执照
 Copyright ©2000-2025 All Rights Reserved
软考在线版权所有