首页 > 知识点
       电源管理
知识路径:  > 嵌入式系统硬件基础知识  > 嵌入式系统电源分类及管理
被考次数:1次     被考频率:低频率     总体答错率:13%     知识难度系数:     
考试要求:掌握     


>>  更多  本知识点历年真题      
        嵌入式系统的一个典型的硬性需求是降低功耗,许多嵌入式设备往往使用电池供电,并且常年无人看管,因此功耗问题非常重要。而在电池容量有限或者设备数量较大的时候,系统的功耗就变得至关重要。
        首先绝大多数嵌入式系统都会包含基础电源管理功能以降低功耗。
        (1)系统上电行为。嵌入式系统的组件往往在系统正常启动之后才能进入低功耗模式,因此在上电的时候通常会以较高的功率来运行。而上电期间很多设备并不需要工作,因此在上电启动的时候需要有效管理这些设备以减小功耗。
        (2)空闲模式。CMOS电路有效的功耗是在电路时钟工作的时候产生的,因此可以通过关闭不需要的时钟来降低功耗。而现代嵌入式系统所使用的元器件往往都提供了通过外部事件唤醒的功能,因此在不使用某些模块的期间内,可以通过主处理器向相关元器件发送“睡眠”指令,以指示其进入低功耗状态。当需要重新触发器件进入工作时,通过特定的触发事件进行元器件唤醒。
        (3)断电。由于逆向偏压泄露,电路元器件在低功耗模式下依然会损耗电能,因此对于低功耗模式消耗电能较大或者长期不使用的元器件,可以做断电处理以减少功耗。
        (4)电压与频率缩放。有效功率与切换频率成线性比例,但与电源电压平方成正比。经常以较低的频率运行于全时钟频率,然后转入闲置,并不能节约很多功率。在此种情况下,可以通过降低电压来节约功率。
        例如,某嵌入式系统数字电路部分需要支流电源供电,输入电压为220V交流电,电源管理模块首先采用的开关电源将220V的交流电转换为直流电压,再利用低压线性稳压器为各个子模块供电,对应的实现框图如下图所示。
        
        某电路电源模块框图
        在电源产生电路中,为了避免模拟信号与数字信号地之间的相互干扰,将输入的220V交流电压转换为两个独立的直流电源,再分别为模拟电路和数字电路的电源供电。例如该项目设计中需要12V、24V、5V、8V、-8V、3.3V等不同电压,对应的电源管理系统拓扑结构如下图所示。
        
        某电源管理系统拓扑图
        具体实现如下:
        ①+12V转+8V采用的是LM7808,这是一款三端集成的稳压电路,能够准确的降压到+8V,输入要保证为12V直流电源,保证输入比输出稳压值8V高出一定压差,即可实现8V稳压,设计时需要注意电流不要超载。在具体设计时,电路两端的电容作用都为滤波,用来平滑电压与提高抗干扰能力。其中输出端可并联220μF/25V的电解电容,其自谐频率小,能够起到储能滤波的功能,消除低频干扰。但是由于大电容的电解电容自身存在一定的电感,对于高频信号以及脉冲干扰信号无法有效滤除,因此,设计中一般会并联一个或几个容值比较小的陶瓷电容,以达到滤除高频干扰信号的作用,对应的设计如下图所示。
        
        12V转8V电路示意图
        ②+12V转-8V采用NE555芯片,这是一款将模拟功能和逻辑功能很好地结合在一起的芯片,该款芯片为8脚集成电路,大约在1971年由Signetics公司发布,在当时是唯一非常快速且商业化的芯片,在之后的40余年中被普遍使用,且延伸出许多的应用电路。后来则是基于CMOS技术版本的芯片(如Motorola的MC1455)被大量使用,但原规格的NE555依然正常供应,尽管新版IC在功能上有部分改善,但其脚位功能并没变化,所以到目前都可直接的代用应用的范围十分广泛,其实现的典型电源转换电路如下图所示。
        
        12V转-8V电路示意图
        在其设计中,当NE555的第三脚输出高电平,通过D1向C1充电,电压可达11V。当NE555输出为低电平时,D1被C2反偏截止。C2向C3转移电荷,重复多次后C3电压达8V,相对地线则输出视为-8V。
        ③+12V转+5V采用的是开关型集成稳压芯片LM2596,它内含固定频率振荡器以及基准稳压器,并具备完善的保护电路、热关断电路、电流限制等。LM2596是降压型电源管理单片集成电路的开关电压调节器,能够输出3A的驱动电流,同时具有很好的线性和负载调节特性。固定输出版本有3.3V、5V、12V,可调版本可以输出小于37V的各种电压。使用LM2596进行+12V转+5V的典型电路图如下图所示。
        
        12V转5V电路示意图
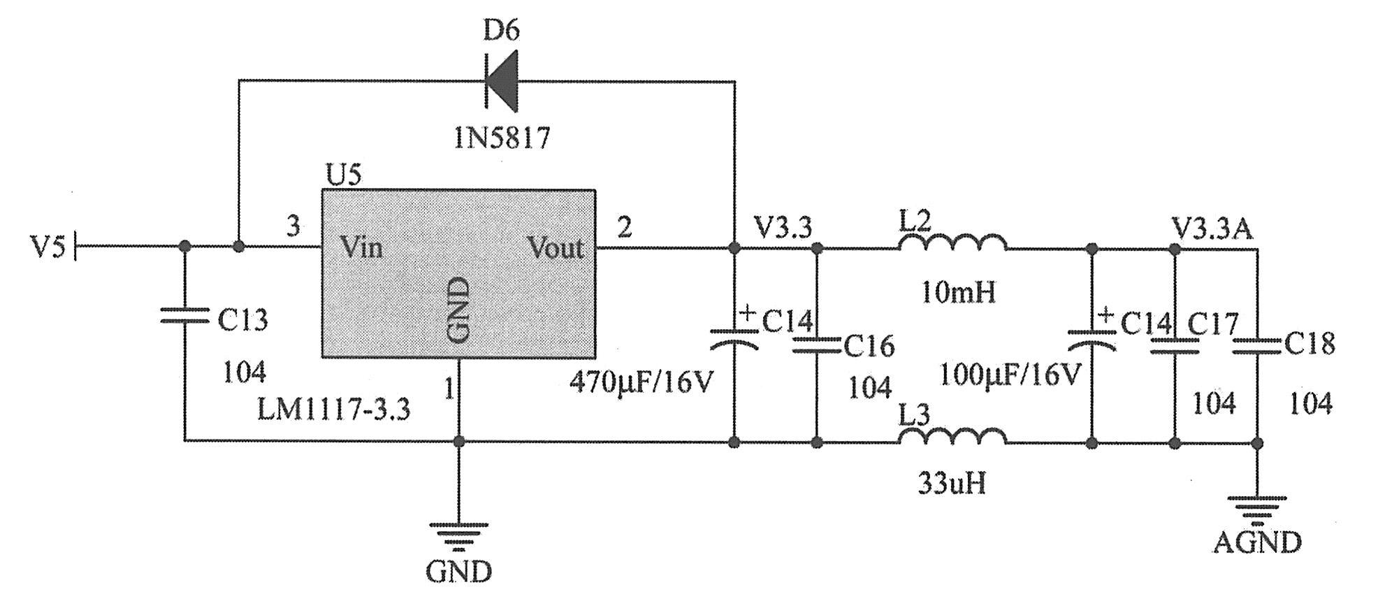
        ④+5V转+3.3V采用LM1117-3.3,这也是一款低压差线性稳压器,输入电压只要在允许范围内,它的输出电压都可以稳定在一个电压,使用LM1117-3.3来进行+5V转+3.3V的电路如下图所示。
        
        5V转3.3V电路示意图
        ⑤+24V转+5V直接采用WD5-24S5,DC-DC电源模块WD5系列具有5W输出功率、宽电压输入、输入/输出隔离、小型化封装等特性。
 
   本知识点历年真题:
隶属试卷 题号/题型 题干 难度系数/错误率
   2023年上半年
   嵌入式系统设计..
   上午试卷 综合知识
第42题
选择题
嵌入式系统可以有多种电源管理方案,对于每个给定的任务都具有最优的功耗。例如,嵌入式系统电源管理可以有四种模式:正常模式、慢速模式、空闲模式、掉电模式。下列关于嵌入式系统电源管理的描述中,不正确的是(31)。
   2018年下半年
   嵌入式系统设计..
   上午试卷 综合知识
第31题
选择题
嵌入式系统可以有多种电源管理方案,对于每个给定的任务都具有最优的功耗。例如,嵌入式系统电源管理可以有四种模式:正常模式、慢速模式、空闲模式、掉电模式。下列关于嵌入式系统电源管理的描述中,不正确的是(31)。

25%
 相关知识点:
 
软考在线指南
优惠劵及余额
在线支付
修改密码
下载及使用
购买流程
取消订单
联系我们
关于我们
联系我们
商务合作
旗下网站群
高级资格科目
信息系统项目管理师 系统分析师
系统架构设计师 网络规划设计师
系统规划与管理师
初级资格科目
程序员 网络管理员
信息处理技术员 信息系统运行管理员
中级资格科目
系统集成项目管理工程师 网络工程师
软件设计师 信息系统监理师
信息系统管理工程师 数据库系统工程师
多媒体应用设计师 软件评测师
嵌入式系统设计师 电子商务设计师
信息安全工程师
 

本网站所有产品设计(包括造型,颜色,图案,观感,文字,产品,内容),功能及其展示形式,均已受版权或产权保护。
任何公司及个人不得以任何方式复制部分或全部,违者将依法追究责任,特此声明。
本站部分内容来自互联网或由会员上传,版权归原作者所有。如有问题,请及时联系我们。


工作时间:9:00-20:00

客服

QQ 486577830

点击这里给我发消息

商务合作

QQ 486577830

点击这里给我发消息

客服邮箱service@rkpass.cn


京B2-20210865 | 京ICP备2020040059号-5 |京公网安备 11010502032051号 | 营业执照 | Copyright ©2000-2026 All Rights Reserved 软考在线版权所有