免费智能真题库 > 历年试卷 > 软件评测师 > 2011年下半年 软件评测师 上午试卷 综合知识
  第64题      
  知识点:   数据库设计的测试   触发器   数据库   数据库测试
  关键词:   安全测试   触发器   存储过程   对象   接口   数据库   安全   测试   数据        章/节:   测试技术的分类       

 
数据库测试的对象包括(64)。
数据库连接测试
数据库的安全测试
③定义的存储过程和触发器的测试
数据库接口测试
 
 
  A.  ①④
 
  B.  ①②③
 
  C.  ①②④
 
  D.  ①②③④
 
 
 

  相关试题:测试技术的分类          更多>  
 
  第62题    2009年上半年  
   22%
为验证某音乐会订票系统是否能够承受大量用户同时访问,测试工程师一般采用 (62)测试工具。
  第27题    2021年下半年  
   52%
某高校人力资源管理系统的数据库中,教师关系模式为T(教师号,姓名,部门号,岗位,联系地址,薪资),函数依赖集F={教师号→(姓名..
  第69题    2015年下半年  
-->
   53%
1976年Diffie与Hellman首次公开提出(69)的概念与结构,采用两个从此独立的密钥对数据
 

   知识点讲解    
   · 数据库设计的测试    · 触发器    · 数据库    · 数据库测试
 
       数据库设计的测试
        数据库设计是一个重要内容,对数据库设计的测试在本书的相关章节论述,这里不再赘述。
 
       触发器
        触发器种类很多。按时钟控制方式来分,有电位触发、边沿触发、主-从触发等方式。
        按功能分类,有R-S型、D型、J-K型等功能。同一功能触发器可以由不同触发方式来实现。对使用者来说,在选用触发器时,触发方式是必须考虑的因素。因为相同功能的触发器,若触发方式选用不当,系统达不到预期设计要求。这里将以触发方式为线索,介绍几种常用的触发器。
        (1)电位触发方式触发器。当触发器的同步控制信号E为约定“1”或“0”电平时,触发器接收输入数据,此时输入数据D的任何变化都会在输出Q端得到反映;当E为非约定电平时,触发器状态保持不变。鉴于它接收信息的条件是E出现约定的逻辑电平,故称它为电位触发方式触发器,简称电位触发器。
        电位触发器具有结构简单的优点。在计算机中常用它来组成暂存器。
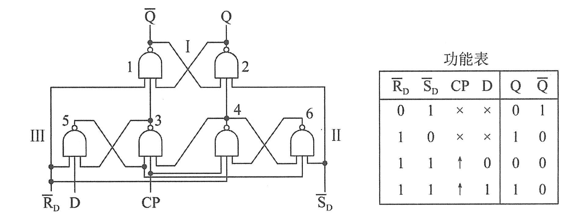
        (2)边沿触发方式触发器。具有如下所述特点的触发器称为边沿触发方式触发器,简称边沿触发器。触发器是时钟脉冲CP的某一约定跳变(正跳变或负跳变)来到时的输入数据。在CP=1及CP=0期间以及CP非约定跳变到来时,触发器不接收数据。
        常用的正边沿触发器是D触发器,下图给出了它的逻辑图及功能表。
        
        D触发器逻辑图
        下面比较边沿触发器和电位触发器。
        电位触发器在E=1期间来到的数据会立刻被接收。但对于边沿触发器,在CP=1期间来到的数据,必须“延迟”到该CP=1过后的下一个CP边沿来到时才被接收。因此边沿触发器又称延迟型触发器。
        边沿触发器在CP正跳变(对正边沿触发器)以外期间出现在D端的数据和干扰不会被接收,因此有很强的抗数据端干扰的能力而被广泛应用,它除用来组成寄存器外,还可用来组成计数器和移位寄存器等。
        至于电位触发器,只要E为约定电平,数据来到后就可立即被接收,它不需像边沿触发器那样保持到约定控制信号跳变到来才被接收。
        (3)触发器的开关特性。描述触发器的参数很多,其中既有描述传输延迟的参数,也有描述各输入波形宽度要求的参数,还有描述各输入波形之间时间配合要求的参数。如果在使用时不能满足参数的要求,电路就不能正常地工作。
 
       数据库
        数据库(DataBase,DB)是指长期存储在计算机内的、有组织的、可共享的数据集合。数据库中的数据按一定的数据模型组织、描述和存储,具有较小的冗余度、较高的数据独立性和易扩展性,并可为各种用户共享。
        系统使用的所有数据存储在一个或几个数据库中。
 
       数据库测试
        数据库为电子商务系统的管理、运行、查询和实现用户对数据存储的请求等提供空间,网站通常把产品和用户信息输入在数据库内,以此来简化和加快搜索。数据库测试一方面是指对数据库本身的完整性进行测试,包括:
        (1)数据完整性。主要检测数据的损坏。规定适当的检查点可以减轻数据损坏。例如,保留和检查每天的事务日志便于跟踪数据库的改变。
        (2)数据有效性。数据有效性确保把正确的信息提供给客户,把正确的信息回传到数据库中。一般来说,数据的检测比率高于应用程序本身的检测比率。其中的一个检测方法是查看工作流并在变化点上检查数据库,包括隔离改变数据库的操作并检查改变内容是否正确。
        (3)数据操作。我们需要从两种级别上测试用户操作:管理员功能和用户功能。数据库管理员可以执行一些不提供给网站客户的受限操作。
        数据库的完整性原则以及数据的合理性,如主码完整性、外码完整性、数据的类型、长度、索引的合理性等。这部分测试应将数据库和数据库进程作为一个子系统来进行测试,并不将测试对象的用户界面用作数据的接口。另一方面,要将数据库与应用系统相结合,对数据一致性、输出结果及数据库容量进行测试。用户提交的表单信息如果不正确,则可能导致数据一致性出错;而网络速度或者程序设计如果存在问题,则可能造成输出错误;同时,还要考虑到系统及数据库在给定时间内能够持续处理的最大负载及工作量。
   题号导航      2011年下半年 软件评测师 上午试卷 综合知识   本试卷我的完整做题情况  
1 /
2 /
3 /
4 /
5 /
6 /
7 /
8 /
9 /
10 /
11 /
12 /
13 /
14 /
15 /
 
16 /
17 /
18 /
19 /
20 /
21 /
22 /
23 /
24 /
25 /
26 /
27 /
28 /
29 /
30 /
 
31 /
32 /
33 /
34 /
35 /
36 /
37 /
38 /
39 /
40 /
41 /
42 /
43 /
44 /
45 /
 
46 /
47 /
48 /
49 /
50 /
51 /
52 /
53 /
54 /
55 /
56 /
57 /
58 /
59 /
60 /
 
61 /
62 /
63 /
64 /
65 /
66 /
67 /
68 /
69 /
70 /
71 /
72 /
73 /
74 /
75 /
 
第64题    在手机中做本题