免费智能真题库 > 历年试卷 > 嵌入式系统设计师 > 2009年下半年 嵌入式系统设计师 上午试卷 综合知识
  第34题      
  知识点:   计算机硬件   基本组成   计算机硬件系统   硬件   硬件系统
  关键词:   计算机硬件系统   计算机硬件   硬件        章/节:   计算机系统基础知识       

 
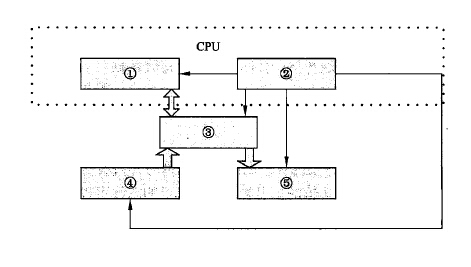
下图中计算机硬件系统基本组成部件①、②、③、④和⑤的名称为(34)。
 
 
  A.  ①控制器、②运算器、③存储器、④输入设备、⑤输出设备
 
  B.  ①运算器、②控制器、③存储器、④输入设备、⑤输出设备
 
  C.  ①运算器、②存储器、③控制器、④输入设备、⑤输出设备
 
  D.  ①运算器、②控制器、③存储器、④输出设备、⑤输入设备
 
 
 

  相关试题:计算机系统基础知识          更多>  
 
  第25题    2010年下半年  
   81%
在x86汇编语言中,寄存器相对寻址方式的操作数存放在存储器中。若用SI、DI或BX进行相对寻址,则以DS作为地址基准;若用BP寻址,则..
  第69题    2017年下半年  
   51%
在一台安装好TCP/IP协议的计算机上,当网络连接不可用时,为了测试编写好的网络程序,通常使用的目的主机IP地址为(69)。
  第4题    2019年下半年  
   55%
执行指令时,将每一条指令都分解为取指、分析和执行三步。已知取指时间t指取=5△t,分析时间t分析=2△t,..
   知识点讲解    
   · 计算机硬件    · 基本组成    · 计算机硬件系统    · 硬件    · 硬件系统
 
       计算机硬件
        基本的计算机硬件系统由运算器、控制器、存储器、输入设备和输出设备5大部件组成,随着网络技术的发展和应用,通信部件也成为计算机系统的基本组件。运算器和控制器及其相关部件已被集成在一起,统称为中央处理单元(Central Processing Unit,CPU)。CPU是硬件系统的核心,用于数据的加工处理,能完成各种算术、逻辑运算及控制功能。
        运算器是对数据进行加工处理的部件,它主要完成算术和逻辑运算。控制器的主要功能是从主存中取出指令并进行分析,以控制计算机的各个部件有条不紊地完成指令的功能。
        存储器是计算机系统中的记忆设备,分为内部存储器(Main Memory,MM,简称内存、主存)和外部存储器(简称外存或辅存)。相对而言,内存速度快、容量小,一般用来临时存储计算机运行时所需的程序、数据及运算结果。外存容量大、速度慢,可用于长期保存信息。寄存器是CPU中的存储器件,用来临时存放少量的数据、运算结果和正在执行的指令。与内存储器相比,寄存器的速度要快得多。
        习惯上将CPU和主存储器的有机组合称为主机。输入/输出(I/O)设备位于主机之外,是计算机系统与外界交换信息的装置。所谓输入和输出,都是相对于主机而言的。输入设备的作用是将信息输入到计算机中,输出设备则将运算结果按照人们所要求的形式输出到外部设备或存储介质上。
 
       基本组成
        防火墙主要包括以下5个部分:安全操作系统、过滤器、网关、域名服务、函件处理。
        (1)安全操作系统。防火墙本身必须建立在安全操作系统中,由安全操作系统来保护防火墙的源代码和文件免遭入侵者的攻击。
        (2)过滤器。外部过滤器保护网关不受攻击,内部过滤器在网关被攻破后提供对内部网络的保护。
        (3)网关。提供中继服务,辅助过滤器控制业务流。可以在其上执行一些特定的应用程序或服务器程序,这些程序统称为"代理程序"。
        (4)域名服务。将内部网络的域名和Internet相隔离,使内部网络中主机的IP地址不至于暴露给Internet中的用户。
        (5)函件处理。保证内部网络用户和Internet用户之间的任何函件交换都必须经过防火墙处理。
 
       计算机硬件系统
        计算机硬件是由运算器、控制器、存储器、输入设备和输出设备五大部分及总线组成,如下图所示。
        
        计算机硬件结构
        运算器是计算机中进行数据加工的部件,主要完成算术运算和逻辑运算。
        控制器是计算机中控制执行指令的部件。其主要功能如下。
        .正确执行每条指令。首先是获得一条指令,按硬件逻辑分析这条指令,再按指令格式和功能执行这条指令。
        .保证指令按规定序列自动连续地执行。
        .对各种异常情况和请求及时响应和处理。
        存储器是存放程序和工作数据的地方,分为内存储器(或称主存储器)和外存储器(或称辅助存储器),分别简称为内存(或主存)和外存(或辅存)。内存速度快、容量小,外存速度慢、容量大。存储器是CPU中的记忆设备,用来临时存放指令和数据,其速度比内存更快。
        一般把CPU和主存储器的组合称为主机。输入/输出(I/O)设备位于主机之外,是计算机与外界交换信息的装置。
 
       硬件
        硬件是计算机物理设备的总称,也称为硬件设备,通常是电子的、机械的、磁性的或光的元器件或装置,一般分为中央处理器、存储器和输入、输出设备。
 
       硬件系统
        硬件系统是计算机网络的基础,硬件系统由计算机、通信设备、连接设备及辅助设备组成,通过这些设备的组成形成了计算机网络的类型。下面来学习几种常用的设备。
        (1)服务器。在计算机网络中,核心的组成部分是服务器。服务器是计算机网络中向其他计算机或网络设备提供服务的计算机,并按提供的服务被冠以不同的名称,如数据库服务器,邮件服务器等。常用的服务器有文件服务器、打印服务器、通信服务器、数据库服务器、邮件服务器、信息浏览服务器、文件下载服务器等。
        (2)客户机。客户机是与服务器相对的一个概念。在计算机网络中享受其他计算机提供的服务的计算机就称为客户机。
        (3)网卡。网卡是安装在计算机主机板上的电路板插卡,又称为网络适配器或网络接口卡(Network Interface Board)。网卡的作用是将计算机与通信设备相连接,负责传输或者接收数字信息。
        (4)调制解调器。调制解调器(Modem)是一种信号转换装置,可以将计算机中传输的数字信号转换成通信线路中传输的模拟信号,或将通信线路中传输的模拟信号转换成数字信号。一般将数字信号转换成模拟信号,称为“调制”过程;将模拟信号转换成数字信号,称为“解调”过程。调制解调器的作用是将计算机与公用电话线相连,使得现有网络系统以外的计算机用户能够通过拨号的方式利用公用事业电话网访问远程计算机网络系统。
        (5)集线器。集线器是局域网中常用的连接设备,有多个端口,可以连接多台本地计算机。
        (6)网桥。网桥(Bridge)也是局域网常用的连接设备。网桥又称桥接器,是一种在链路层实现局域网互联的存储转发设备。
        (7)路由器。路由器是互联网中常用的连接设备,可以将两个网络连接在一起,组成更大的网络,如局域网与Internet可以通过路由器进行互联。
        (8)中继器。中继器可用来扩展网络长度。中继器的作用是在信号传输较长距离后,进行整形和放大,但不对信号进行校验处理等。
   题号导航      2009年下半年 嵌入式系统设计师 上午试卷 综合知识   本试卷我的完整做题情况  
1 /
2 /
3 /
4 /
5 /
6 /
7 /
8 /
9 /
10 /
11 /
12 /
13 /
14 /
15 /
 
16 /
17 /
18 /
19 /
20 /
21 /
22 /
23 /
24 /
25 /
26 /
27 /
28 /
29 /
30 /
 
31 /
32 /
33 /
34 /
35 /
36 /
37 /
38 /
39 /
40 /
41 /
42 /
43 /
44 /
45 /
 
46 /
47 /
48 /
49 /
50 /
51 /
52 /
53 /
54 /
55 /
56 /
57 /
58 /
59 /
60 /
 
61 /
62 /
63 /
64 /
65 /
66 /
67 /
68 /
69 /
70 /
71 /
72 /
73 /
74 /
75 /
 
第34题    在手机中做本题