免费智能真题库 > 历年试卷 > 嵌入式系统设计师 > 2020年下半年 嵌入式系统设计师 下午试卷 案例
  第1题      
  知识点:   红外   信号   AR   图像的输出   温度   文件系统   系统架构   显示器   医疗   政府

 
2019年12月以来,新型冠状病毒首先在国内蔓延,现在又肆虐全球,我国政府全力以赴,抗击疫情,全国人民积极响应,短短几个月来,疫情得到很好的控制。在抗疫战斗中, 相关医疗设备起到了至关重要的作用。某公司生产的红外热成像系统(测温仪)已被广泛使用,可以检测发热症状,排查受感人群。
红外热成像系统如图1-1所示,主要由红外光学系统、红外探测器、驱动采集电路、图像处理电路、显示与存储电路组成。

在该系统中,光学系统主要指专门红外镜头,与普通光学镜头不同,光学材料针对相应波段的红外光线,实现滤光和对焦。红外探测器是完成红外热辐射到电信号的转换。驱动采集电路完成图像信号的输出与采集。红外图像处理电路在系统中不仅要对红外图像进行非均校正、盲元补偿处理,还要对图像的温度漂移、图像增强以及温度测量信息进行处理。最后,红外图像需要设置不同的输出方式以匹配不同的显示器,或者采用文件系统红外图像及信息进行存储。
红外热成像系统具体的系统架构如图1-2所示,主处理器采用ARM,红外探测器采用非制长波红外探测器,系统电路包括偏置电压电路、温控电路、A/D转换电路、 基于FPGA的实时红外图像信号采集电路、基于ARM的系统控制电路以及LCD显示电路。实现了红外探测器的驱动、红外图像信号的采集和处理、红外图像的输出显示以及一些外设辅助功能。
 
问题:1.1   (4分)
系统采用4片IS61LV51216 SRAM来做数据缓存,请问:
(1)下列关于SRAM、DRAM和ROM 的论述中,哪些是正确的?
A. SRAM的中文名称为“静态随机存储器”
B.存放在SRAM中的信息不会因去掉供电电源而丢失
C. SRAM的静态存储单元是在静态触发器的基础上附加门控管而构成的
D. SRAM必须定时不断刷新,以保证所存储的信总不会丢失
E. SRAM将每个位存储在一个双稳态存储器单元
F. SRAM的功耗较大,集成度不能做得很高
G. ROM所存数据稳定,断电后所存数据也不会改变
H. SRAM需要刷新电路才保存它内部存储的数椐
I. SRAM的优点是集成度较低,功耗较DRAM小
J. DRAM每隔-段时间要刷新充电一次,否则内部的数据即会消失
(2)SRAM的容M为512KX 16位,那么SRAM的地址线和数据线数目分别为多少?
 
问题:1.2   (7分)
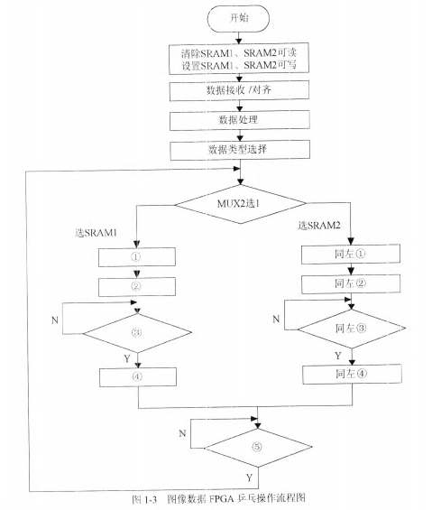
在红外热像仪系统中,FPGA完成红外图像的采集与预处理,包括前端探测器驱动、数据采集与整形、数据预处理、SRAM控制器、ARM通信等,在整个数据采集过程中,FPGA将接收到的红外图像数据采用“乒乓”结构交持不断写入两块SRAM中,FPGA在进行数据写入时,ARM不能读取相应区的数据,FPGA每写完一帧数据,就通过寄存器通知ARM取数据,新的一帧数据写入另一块SRAM。这样就避免了红外探测器图像采集时钟与ARM的图像处理帧频时钟的不匹配问题。
(1)下列关于FPGA的描述中,哪些是正确的?
A. FPGA由逻辑单元、RAM、乘法器等硬件资源组成
B. FPGA只能实现有限次的重新编程 
C. FPGA可通过使用原理图或者Venlog HDL来设计
D. FPGA的所有功能均依靠硬件实现
E. FPGA可以实现定点和浮点运算
F. FPGA的工作频率由FPGA芯片及设计决定
(2)完成图像乒乓操作流程图1-3中的空①-⑤。
 
问题:1.3   (4分)假设该红外热像仪CPU的中断系统有4个中断源A、B、C、D,其硬件排队优先次序为A>B>C>D,每个中断源对应一个屏蔽码,表1-1为中断服务程序与屏蔽码的关系,其中 “0”为允许,“1”为屏蔽,CPU状态时屏蔽码为0000。

(1) 设A、B、C、D同时请求中断,试画出CPU执行程序的轨迹。
(2) 请给出中断服务程序完成的顺序。
 
 
 

   知识点讲解    
   · 红外    · 信号    · AR    · 图像的输出    · 温度    · 文件系统    · 系统架构    · 显示器    · 医疗    · 政府
 
       红外
        红外接口,英文简称为IrDA,是红外线数据标准协会(Infrared Data Association)的英文缩写。IrDA红外接口是一种红外线无线传输协议以及基于该协议的无线传输接口。支持IrDA接口的掌上电脑,可以无线地向支持IrDA的设备无线连接来实现信息资源的共享。
        红外接口可以在同样具备红外接口的设备间进行信息交流,由于需要对接才能传输信息,安全性较强。缺点是通信距离短,通信过程中不能移动,遇障碍物通信中断,功能单一,扩展性差。
 
       信号
        任务间同步的另一种方式是异步信号。在两个任务之间,可以通过相互发送信号的方式,来协调它们之间的运行步调。
        所谓的信号,指的是系统给任务的一个指示,表明某个异步事件已经发生了。该事件可能来自于外部(如其他的任务、硬件或定时器),也可能来自于内部(如执行指令出错)。异步信号管理允许任务定义一个异步信号服务例程ASR(Asynchronous Signal Routine),与中断服务程序不同的是,ASR是与特定的任务相对应的。当一个任务正在运行的时候,如果它收到了一个信号,将暂停执行当前的指令,转而切换到相应的信号服务例程去运行。不过这种切换不是任务之间的切换,因为信号服务例程通常还是在当前任务的上下文环境中运行的。
        信号机制与中断处理机制非常相似,但又各有不同。它们的相同点是:
        .都具有中断性:在处理中断和异步信号时,都要暂时地中断当前任务的运行;
        .都有相应的服务程序;
        .都可以屏蔽响应:外部硬件中断可以通过相应的寄存器操作来屏蔽,任务也能够选择不对异步信号进行响应。
        信号机制与中断机制的不同点是:
        .中断是由硬件或特定的指令产生,而信号是由系统调用产生;
        .中断触发后,硬件会根据中断向量找到相应的处理程序去执行;而信号则通过发送信号的系统调用来触发,但系统不一定马上对它进行处理;
        .中断处理程序是在系统内核的上下文中运行,是全局的;而信号处理程序是在相关任务的上下文中运行,是任务的一个组成部分。
        实时系统中不同的任务经常需要互斥地访问共享资源。当任务试图访问资源时被正使用该资源的其他任务阻塞,可能出现优先级反转的现象,即当高优先级任务企图访问已被某低优先级任务占有的共享资源时,高优先级任务必须等待直到低优先级任务释放它占有的资源。如果该低优先级任务又被一个或多个中等优先级任务阻塞,问题就更加严重。由于低优先级任务得不到执行就不能访问资源、释放资源。于是低优先级任务就以一个不确定的时间阻塞高优先级的任务,导致系统的实时性没有保障。下图为是一个优先级反转的示例。
        
        一个优先级反转的示例
        如上图所示,系统存在任务1、任务2、任务3(优先级从高到低排列)和资源R。某时,任务1和任务2都被阻塞,任务3运行且占用资源R。一段时间后,任务1和任务2相继就绪,任务1抢占任务3运行,由于申请资源R失败任务1被挂起。由于任务2的优先级高于任务3,任务2运行。由于任务3不能运行和释放资源R,因此任务1一直被阻塞。极端情况下,任务1永远无法运行,处于饿死状态。
        解决优先级反转问题的常用算法有优先级继承和优先级天花板。
               优先级继承协议
               L. Sha、R. Rajkumar和J. P. Lehoczky针对资源访问控制提出了优先级继承协议(Priority Inheritance Protocol,PIP)。
               PIP协议能与任何优先级驱动的抢占式调度算法配合使用,而且不需要有关任务访问资源情况的先验知识。优先级继承协议的执行方式是:当低优先级任务正在使用资源,高优先级任务抢占执行后也要访问该资源时,低优先级任务将提升自身的优先级到高优先级任务的级别,保证低优先级任务继续使用当前资源,以尽快完成访问,尽快释放占用的资源。这样就使高优先级任务得以执行,从而减少高优先级任务被多个低优先级任务阻塞的时间。低优先级任务在运行中,继承了高优先级任务的优先级,所以该协议被称作优先级继承协议。
               由于只有高优先级任务访问正被低优先级任务使用的资源时,优先级继承才会发生,在此之前,高优先级任务能够抢占低优先级任务并执行,所以优先级继承协议不能防止死锁,而且阻塞是可以传递的,会形成链式阻塞。另外,优先级继承协议不能将任务所经历的阻塞时间减少到尽可能小的某个范围内。最坏情况下,一个需要μ个资源,并且与v个低优先级任务冲突的任务可能被阻塞min(μ,v)次。
               优先级冲顶协议
               J. B. Goodenough和L. Sha针对资源访问控制提出了优先级冲顶协议(Priority Ceiling Protocol,PCP)。
               PCP协议扩展了PIP协议,能防止死锁和减少高优先级任务经历的阻塞时间。该协议假设所有任务分配的优先级都是固定的,每个任务需要的资源在执行前就已确定。每个资源都具有优先级冲顶值,等于所有访问该资源的任务中具有的最高优先级。任一时刻,当前系统冲顶值(current priority ceiling)等于所有正被使用资源具有的最高冲顶值。如果当前没有资源被访问,则当前系统冲顶值等于一个不存在的最小优先级。当任务试图访问一个资源时,只有其优先级高于当前系统冲顶值,或其未释放资源的冲顶值等于当前系统冲顶值才能获得资源,否则会被阻塞。而造成阻塞的低优先级任务将继承该高优先级任务的优先级。
               已经证明,PCP协议的执行规则能防止死锁,但其代价是高优先级任务可能会经历优先级冲顶阻塞(Priority ceiling blocking)。即高优先级任务可能被一个正使用某资源的低优先级任务阻塞,而该资源并不是高优先级任务请求的。这种阻塞又被称作回避阻塞(avoidance blocking),意思是因为回避死锁而引起的阻塞。即使如此,在PCP协议下,每个高优先级任务至多被低优先级任务阻塞一次。使用PCP协议后,能静态分析和确定任务之间的资源竞争,计算出任务可能经历的最大阻塞时间,从而能分析任务集合的可调度性。在PCP协议下,高优先级任务被阻塞时会放弃处理器,因此,访问共享资源的任务可能会产生4次现场切换。
 
       AR
        (1)AR的定义。增强现实技术(Augmented Reality,AR),是一种实时地计算摄影机影像的位置及角度并加上相应图像、视频、3D模型的技术,这种技术的目标是在屏幕上把虚拟世界套在现实世界并进行互动。这种技术1990年提出。随着随身电子产品CPU运算能力的提升,预期增强现实的用途将会越来越广。
        (2)AR的特点。
        ①真实世界和虚拟世界的信息集成;
        ②具有实时交互性;
        ③是在三维尺度空间中增添定位虚拟物体。
        (3)AR的营销价值。
        ①虚实结合,震撼体验。借助AR的虚实交互体验,增强产品发布会的趣味性和互动性。另外借助AR技术,可以展示模拟现实条件无法表现的细节和创意,使消费者更直观形象地感知产品,提升对企业品牌形象的理解,尤其适用于工艺复杂、技术含量高、价值相对较高的产品。
        ②体验营销。AR技术实现品牌和消费者零距离接触,在游戏或互动中潜移默化地传达产品内容、活动及促销信息,加深消费者对品牌的认可和了解。AR技术借助手机摄像头可以生动地再现产品使用场景,增强用户的购物体验,解决电子商务当下无法试用、试穿的瓶颈,给我们生活带来极大地便利和乐趣。
        ③与微博、SNS等社交媒体整合。利用AR技术与微博、SNS等社交媒体的融合打通,实现从体验营销到自营销,最终形成消费者对产品和品牌的信任和钟爱,满足了消费者购买咨询、体验和分享的需求,促成消费者形成良好的口碑并促进购买。
 
       图像的输出
        图像处理完成以后,如果需要保存各图层信息,应保存一个PSD格式的文件,以便将来做进一步处理;然后应将处理完毕的图像进行变换,如为减小存储空间而将真彩色图像变换为256色图像;最后按一定的通用图像格式(如TIFF, JPEG等格式)保存该图像。
 
       温度
        计算机机房室内温度要适当并维持在稳定状态,温度过高或过低都会影响计算机系统的正常工作。如果工作环境温度过高,特别是在南方气候炎热的夏天,很容易造成系统内部元器件的温度过高,轻者计算机系统工作不正常、死机,重者将烧毁部件。如果工作环境温度过低,过低的室温会引起凝聚和结露现象,从而引起器件生锈,温度过低还会使绝缘材料变硬、变脆。
        机房的温度应保持在15℃~35℃,安装空调来调节温度是解决此问题的最佳办法。对于没有条件安装空调的单位来说,假如机器已超频的话,在炎热的季节就应该把频率降下来了。其次要注意机房的通风,上机时尽量开窗开门,并借助于电风扇进行通风。机房室内布局要合理,各个设备之间不应该靠得太挤,保持一定的距离以保证正常散热,并且尽量为CPU选用合格的功能强的风扇。
 
       文件系统
        由于计算机系统处理的信息量越来越大,所以不可能将所有的信息保存到主存中。特别是在多用户系统中,既要保证各用户文件存放的位置不冲突,又要防止任一用户对外存储器(简称外存)空间占而不用;既要保证各用户文件在未经许可的情况下不被窃取和破坏,又要允许在特定的条件下多个用户共享某些文件。因此,需要设立一个公共的信息管理机制来负责统一管理外存和外存上的文件。
        所谓文件管理系统,就是操作系统中实现文件统一管理的一组软件和相关数据的集合,专门负责管理和存取文件信息的软件机构,简称文件系统。文件系统的功能包括按名存取,即用户可以“按名存取”,而不是“按地址存取”;统一的用户接口,在不同设备上提供同样的接口,方便用户操作和编程;并发访问和控制,在多道程序系统中支持对文件的并发访问和控制;安全性控制,在多用户系统中的不同用户对同一文件可有不同的访问权限;优化性能,采用相关技术提高系统对文件的存储效率、检索和读/写性能;差错恢复,能够验证文件的正确性,并具有一定的差错恢复能力。
 
       系统架构
               客户机/服务器系统
               C/S(Client/Server)结构,即大家熟知的客户机和服务器结构。它是软件系统体系结构,通过它可以充分利用两端硬件环境的优势,将任务合理分配到客户机端和服务器端来实现,降低了系统的通信开销。目前大多数应用软件系统都是客户机/服务器形式的两层结构,由于现在的软件应用系统正在向分布式的Web应用发展,Web和客户机/服务器应用都可以进行同样的业务处理,应用不同的模块共享逻辑组件;因此,内部的和外部的用户都可以访问新的和现有的应用系统,通过现有应用系统中的逻辑可以扩展出新的应用系统。这也就是目前应用系统的发展方向。
               浏览器/服务器系统
               B/S (Browser/Server)结构即浏览器和服务器结构。它是随着Internet技术的兴起,对C/S结构的一种变化或者改进的结构。在这种结构下,用户工作界面是通过WWW浏览器来实现,极少部分事务逻辑在前端(浏览器)实现,但是主要事务逻辑在服务器端(服务器)实现,形成所谓三层3-tier结构。这样就大大简化了客户端电脑载荷,减轻了系统维护与升级的成本和工作量,降低了用户的总体成本(TCO)。以目前的技术看,局域网建立B/S结构的网络应用,并通过Internet/Intranet模式下数据库应用,相对易于把握,成本也是较低的。它是一次性到位的开发,能实现不同的人员,从不同的地点,以不同的接入方式(如LAN,WAN, Internet/Intranet等)访问和操作共同的数据库;它能有效地保护数据平台和管理访问权限,服务器数据库也很安全。
               多层分布式系统(Multi-tier System)
               (1)概念。
               随着中间件与Web技术的发展,三层或多层分布式应用体系越来越流行。在多层体系中,各层次按照以下方式进行划分,实现明确分工:
               ①瘦客户:提供简洁的人机交互界面,完成数据的输入/输出。
               ②业务服务:完成业务逻辑,实现客户与数据库对话的桥梁。同时,在这一层中,还应实现分布式管理、负载均衡、Fail/Recover、安全隔离等。
               ③数据服务:提供数据的存储服务。一般就是数据库系统。
               (2)多层系统主要特点。
               多层系统主要特点是:
               .安全性。中间层隔离了客户直接对数据服务器的访问,保护了数据库的安全。
               .稳定性。对于要求24×7工作的业务系统,多层分布式体系提供了更可靠的稳定性。一是中间层缓冲Client与数据库的实际连接,使数据库的实际连接数量远小于Client应用数量。当然,连接数越少,数据库系统就越稳定。二是Fail/Recover机制能够在一台服务器宕机的情况下,透明地把客户端工作转移到其他具有同样业务功能的服务上。
               .易维护。由于业务逻辑在中间服务器,当业务规则变化后,客户端程序基本不做改动。
               .快速响应。通过负载均衡以及中间层缓存数据能力,可以提高对客户端的响应速度。
               .系统扩展灵活。基于多层分布体系,当业务增大时,可以在中间层部署更多的应用服务器,提高对客户端的响应,而所有变化对客户端透明。
               (3)多层系统举例。
               目前最为流行的两类多层应用架构为Sun的J2EE和Microsoft.Net,下面简单介绍J2EE的多层架构。
               
               J2EE多层应用架构
               (4)客户层。
               客户层用于与企业信息系统的用户进行交互以及显示根据特定商务规则进行计算后的结果。基于J2EE规范的客户端可以是基于Web的,也可以是不基于Web的独立(Stand Alone)应用程序。
               在基于Web的J2EE客户端应用中,用户在客户端启动浏览器后,从Web服务器中下载Web层中的静态HTML页面或由JSP或Servlets动态生成的HTML页面。
               在不基于Web的J2EE客户端应用中,独立的客户端应用程序可以运行在一些基于网络的系统中,例如手持设备或汽车电话等。同样,这些独立的应用也可以运行在客户端的Java Applet中。这种类型的客户端应用程序可以在不经过Web层的情况下直接访问部署在EJB容器(EJB Container)中的EJB组件。
               (5) Web层。
               J2EE规范定义的Web层由JSP页面、基于Web的Java Applets以及用于动态生成HTML页面的Servlets构成。这些基本元素在组装过程中通过打包来创建Web组件。运行在Web层中的Web组件依赖Web容器来支持诸如响应客户请求以及查询EJB组件等功能。
               (6)业务层。
               在基于J2EE规范构建的企业信息系统中,将解决或满足特定业务领域商务规则的代码构建成为业务层中的Enterprise JavaBean (EJB)组件。EJB组件可以完成从客户端应用程序中接收数据、按照商务规则对数据进行处理、将处理结果发送到企业信息系统层进行存储、从存储系统中检索数据以及将数据发送回客户端等功能。
               部署和运行在业务层中的EJB组件依赖于EJB容器来管理诸如事务、生命期、状态转换、多线程及资源存储等。这样由业务层和Web层构成了多层分布式应用体系中的中间层。
               (7)企业信息系统层。
               在企业应用系统的逻辑层划分中,企业信息系统层通常包括企业资源规划(ERP)系统、大型机事务处理(Mainframe Transaction Processing)系统、关系数据库系统(RDMS)及其他在构建J2EE分布式应用系统时已有的企业信息管理软件。
 
       显示器
        显示器,又称监视器,是计算机的重要输出设备之一。显示器的作用主要有两个:一是在输入时显示从键盘输入的命令或数据;二是在程序运行时将机内的数据转换成比较直观的字符、图形或图像输出,以便及时观察程序执行过程中的必要信息和结果。
        按所使用的显示器件分类,有阴极射线管(CRT)显示器、液晶显示器(LCD)和等离子显示器等,其外观样式如下图所示。按所显示的内容分类,有字符显示器、图形显示器和图像显示器三大类。按显示器的颜色可分为单色显示器和彩色显示器。
        
        液晶显示器、等离子显示器、CRT显示器
        显示器的大小有14英寸、15英寸、17英寸、21英寸等。分辨率是显示器的一项技术指标,一般用“横向点数×纵向点数”表示,主要有640×480、800×600、1024×768、1280×1024、1600×1280等,分辨率越高,则显示效果越清晰。
 
       医疗
        现代先进的医疗诊断技术的共同特点是以现代物理技术为基础,借助计算机技术对医疗影像进行数字化和重建处理。计算机在成像过程中起到至关重要的作用。随着临床要求的不断提高以及多媒体技术的发展,出现了新一代具有多媒体处理功能的医疗诊断系统。多媒体医疗影像系统在媒体种类、媒体介质、媒体存储及管理方式、诊断辅助信息、直观性和实时性等方面都使传统诊断技术相形见绌。
        事实上,在医疗诊断中经常采用的实时动态视频扫描、声影处理等技术都是多媒体技术成功应用的例证。多媒体数据库技术从根本上解决了医疗影像的另一关键问题——影像存储管理问题。多媒体和网络技术的应用还使远程医疗从理想变成现实。
 
       政府
        政府信息系统以电子政务为主要形式,是指政府机构在其管理和服务职能中运用现代网络技术打破传统行政机关的时间、空间和部门分隔的制约,使各级政府的各项监管更加严密,服务更加便捷,涉及政府机关、各团体、企业和社会公众,主要包括机关办公政务网、办公政务资源网、公众信息网和办公政务信息资源数据库几个部分。
        (1)安全级别高。政务信息数据中,有些关乎国家、政府部门、地方政策和利益,比个人或商务信息更为敏感;有些属于大规模的基础设施,比如档案、城建数据;有些具有服务特性,比如医保、社保、公积金、房屋交易等信息;加之电子政务行使政府职能的特点易导致政府信息系统受到各种攻击,包括黑客组织、犯罪集团和信息战时期的信息对抗等国家行为的攻击,因此,其安全问题尤其是数据安全应被重点关注。
        (2)业务的不间断运维需求高。政府信息系统面向社会提供外部服务,如出入境审批系统、身份证申领系统等,都必须在故障出现后以最短的时间恢复业务运行,否则导致业务受理停止,大量人员等待,大量紧急任务无法处理,影响政府办事效率和形象。
        (3)例行运维亟须加强。我国政府部分信息系统存在管理松散,制度不严明,执行乏力现象,包括内部信息外泄,个人下载或运行游戏、炒股、聊天、视频软件,甚至非法修改IP地址,卸载杀毒软件,不仅严重违反纪律,更易影响到关键应用的性能质量,因此,日常运维管理亟须加强。
   题号导航      2020年下半年 嵌入式系统设计师 下午试卷 案例   本试卷我的完整做题情况  
1 /
2 /
3 /
4 /
5 /
 
第1题    在手机中做本题