免费智能真题库 > 历年试卷 > 程序员 > 2019年上半年 程序员 下午试卷 案例
  第1题      
  知识点:   数组

 
【说明】
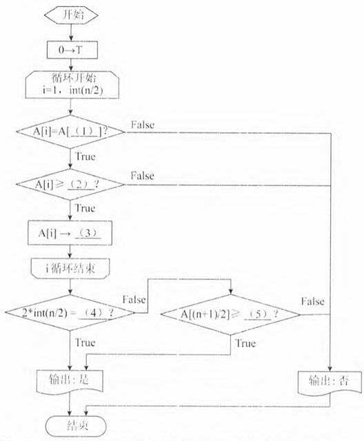
如果n位数(n≥2)是回文数(从左到右读与从右到左读所得结果一致),且前半部分的数字递增(非减)、后半部分的数字将递减(非增),则称该数为拱形回文数。例如,12235753221就是一个拱形回文数。显然,拱形回文数中不含数字0。
下面的流程图用于判断给定的n位数(各位数字依次存放在数组的各个元素A[i]中,i=1,2, ...,n)是不是拱形回文数。流程图中,变量T动态地存放当前位之前一位的数字。当n是奇数时,还需要特别注意中间一位数字的处理。
【流程图】

注1: “循环开始”框内给出循环控制变量的初值、终值和增值(默认为1),格式为: 循环控制变量=初值,终值[,增值]
注2: 函数int(x)为取x的整数部分,即不超过x的最大整数。
 
问题:1.1   填写流程图中的空缺。
 
 
 

   知识点讲解    
   · 数组
 
       数组
               数组的定义及基本运算
               一维数组是长度固定的线性表,数组中的每个数据元素类型相同。n维数组是定长线性表在维数上的扩张,即线性表中的元素又是一个线性表。
               设有n维数组Ab1b2,…,bn],其每一维的下界都为1,bi是第i维的上界。从数据结构的逻辑关系角度来看,A中的每个元素Aj1j2,…,jn](1≤jibi)都被n个关系所约束。在每个关系中,除第一个和最后一个元素外,其余元素都只有一个直接后继和一个直接前驱。因此就单个关系而言,这n个关系仍是线性的。
               以下面的二维数组Am][n]为例,可以把它看成是一个定长的线性表,它的每个元素也是一个定长线性表。
               
               可将A看作一个行向量形式的线性表:
               Am*n=[[a11a12a1n][a21a22a2n]…[am1am2amn]]
               也可将A看作列向量形式的线性表:
               Am*n=[[a11a21am1][a12a22am2]…[a1na2namn]]
               数组结构的特点如下:
               (1)数据元素数目固定。一旦定义了一个数组结构,就不再有元素的增减变化。
               (2)数据元素具有相同的类型。
               (3)数据元素的下标关系具有上下界的约束且下标有序。
               在数组中通常做下面两种操作:
               (1)取值操作。给定一组下标,读其对应的数据元素。
               (2)赋值操作。给定一组下标,存储或修改与其相对应的数据元素。
               几乎所有的程序设计语言都提供了数组类型。实际上,在语言中把数组看成是具有共同名字的同一类型多个变量的集合。需要注意的是,不能对数组进行整体的运算,只能对单个数组元素进行运算。
               数组的顺序存储
               由于数组一般不作插入和删除运算,也就是说,一旦定义了数组,则结构中的数据元素个数和元素之间的关系就不再发生变动,因此数组适合于采用顺序存储结构。
               对于数组,一旦确定了它的维数和各维的长度,便可为它分配存储空间。反之,只要给出一组下标便可求得相应数组元素的存储位置,也就是说,在数据的顺序存储结构中,数据元素的位置是其下标的线性函数。
               二维数组的存储结构可分为以行为主序(按行存储)和以列为主序(按列存储)两种方法,如下图所示。
               
               二维数组的两种存储方式
               设每个数据元素占用L个单元,mn为数组的行数和列数,那么以行为主序优先存储的地址计算公式为:
               Loc(aij)=Loc(a11)+((i-1)×n+(j-1))×L
               同理,以列为主序优先存储的地址计算公式为:
               Loc(aij)=Loc(a11)+((j-l)×m+(i-1))×L
   题号导航      2019年上半年 程序员 下午试卷 案例   本试卷我的完整做题情况  
1 /
2 /
3 /
4 /
5 /
6 /
 
第1题    在手机中做本题