|
|
【说明】
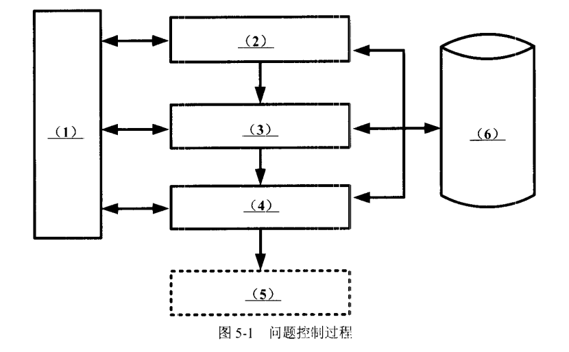
技术人员在IT服务的过程中,经常会遇到诸如网络故障或者产品缺陷等问题。此时技术人员要做的是将问题进行控制,分析问题产生的原因,在必要时将问题升级为已知错误。在此基础上,技术人员需要进行错误控制。通过变更请求确保已知错误被完全消除,避免再次发生故障,通常这样的过程在IT服务中有一一定的流程。
请结合所学故障及问题管理的相关知识解答下列问题。
|
|
|
问题:2.1
(6分)
在问题控制步骤选项A~F中,选择合适的填入图5-1所示的(1)~(6)中。
问题控制步骤选项:
A.调查与分析
B.错误控制
C.归类
D.问题管理数据库
E.跟踪和监督
F.发现和记录

|
|
|
|
|
|