免费智能真题库 > 历年试卷 > 软件设计师 > 2012年下半年 软件设计师 上午试卷 综合知识
  第31题      
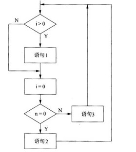
  章/节:   软件质量管理基础知识       

 
采用McCabe度量法计算下图的环路复杂件为(31)。



 
 
  A.  2
 
  B.  3
 
  C.  4
 
  D.  5
 
 
 

  相关试题:软件质量管理基础知识          更多>  
 
  第35题    2015年上半年  
   28%
采用McCabe度量法计算下列程序图的环路复杂性为(35)。
  第35题    2023年上半年  
   33%
以下流程图中,至少需要(34)个测试用例才能覆盖所有路径。采用McCabe方法计算程序复杂度为(35)。
  第68题    2023年下半年  
   0%
在ISO/IEC软件质量模型中,可靠性是指在规定的一段时间内和规定的条件下,软件维持在其性能水平的能力;其子特性不包括()。
   题号导航      2012年下半年 软件设计师 上午试卷 综合知识   本试卷我的完整做题情况  
1 /
2 /
3 /
4 /
5 /
6 /
7 /
8 /
9 /
10 /
11 /
12 /
13 /
14 /
15 /
 
16 /
17 /
18 /
19 /
20 /
21 /
22 /
23 /
24 /
25 /
26 /
27 /
28 /
29 /
30 /
 
31 /
32 /
33 /
34 /
35 /
36 /
37 /
38 /
39 /
40 /
41 /
42 /
43 /
44 /
45 /
 
46 /
47 /
48 /
49 /
50 /
51 /
52 /
53 /
54 /
55 /
56 /
57 /
58 /
59 /
60 /
 
61 /
62 /
63 /
64 /
65 /
66 /
67 /
68 /
69 /
70 /
71 /
72 /
73 /
74 /
75 /
 
第31题    在手机中做本题