免费智能真题库 > 历年试卷 > 网络工程师 > 2012年下半年 网络工程师 上午试卷 综合知识
  第29题      
  知识点:   路由器的配置
  章/节:   网络互联       

 
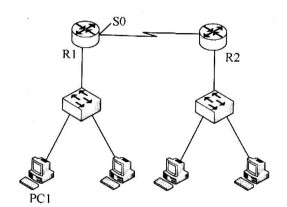
某网络拓扑结构如下图所示。

在路由器R2上采用命令(28)得到如下所示结果。

则PC1可能的IP地址为(29),路由器R1的S0口的IP地址为(30),路由器R1和R2之间采用的路由协议为(31)。
 
 
  A.  192.168.0.1
 
  B.  192.168.1.1
 
  C.  202.117.112.1
 
  D.  202.117.112.2
 
 
 

  相关试题:网络互联          更多>  
 
  第60题    2021年上半年  
   27%
在网络管理中,使用display port vlan命令可查看交换机的(59)信息,使用port link-type trunk命令修改交换机(60)。
  第58题    2023年上半年  
   36%
在以下命令执行结果中,Routing Tables 描述路由标记的字段是()。
  第67题    2013年上半年  
   24%
配置路由器默认路由的命令是(67)。
   知识点讲解    
   · 路由器的配置
 
       路由器的配置
               路由器概述
               路由器是一种典型的网络层设备。在OSI参考模型中被称为中继系统,完成网络层中继或第三层中继的任务。路由器负责在两个局域网的网络层间接传输数据分组,并确定网络上数据传送的最佳路径。也因为它们运行IP基于第三层信息来为分组选择路由,如下图所示,所以路由器已经成为Internet的骨干。
               
               路由器
               路由器用于连接多个逻辑上分开的网络。逻辑网络是代表一个单独的网络或者一个子网。当数据从一个子网传输到另一个子网时,可通过路由器来完成。因此,路由器具有判断网络地址和选择路径的功能,它能在多网络互联环境中建立灵活的连接,可用完全不同的数据分组和介质访问方法连接各种子网。它不关心各子网使用的硬件设备,但要求运行与网络层协议一致的软件。路由器分本地路由器和远程路由器,本地路由器是用来连接网络传输介质的,如光纤、同轴电缆、双绞线;远程路由器是用来连接远程传输介质的,并要配置适当的联网设备,如电话线要配置调制解调器,无线传输要配置无线接收机、发射机等。
               一般来说,异种网络互联与多个子网互联都应采用路由器来完成。
               路由器的主要工作就是为经过路由器的每个数据帧寻找一条最佳传输路径,并将该数据帧有效地传送到目的站点。由此可见,选择最佳路径的策略即路由算法是路由器的关键所在。为了完成这项工作,在路由器中保存着各种传输路径的相关数据——路由表(Routing Table),供路由选择时使用。路由表中保存着子网的标志信息、网上路由器的个数和下一个路由器的名字等内容。路由表可以是由系统管理员固定设置好的;可以由系统动态修改;可以由路由器自动调整;也可以由主机控制。
               由系统管理员事先设置好的固定的路由表称为静态(Static)路由表,一般是在系统安装时就根据网络的配置情况预先设定的,它不会随未来网络结构的改变而改变。
               动态(Dynamic)路由表是路由器根据网络系统的运行情况而自动调整的路由表。路由器根据路由选择协议(Routing Protocol)提供的功能,自动学习和记忆网络运行情况,在需要时自动计算数据传输的最佳路径。
               路由器的基本配置
                      路由器的命令状态
                      与交换机的配置类似,路由器的配置操作有3种模式,即用户视图、系统视图和具体业务视图。用户视图模式下,用户可以完成查看运行状态和统计信息等功能,这些命令对路由器的正常工作没有影响;在系统视图模式下,用户可以配置系统参数以及通过该视图进入其他的功能配置视图;在具体业务视图模式下,用户可以配置接口相关的物理属性、链接层特性及IP地址等重要参数,路由协议的大部分参数也需要在这种模式下配置。其中,配置模式又分为全局配置模式、接口配置模式、路由协议配置模式、线路配置模式等子模式。在不同的工作模式下,路由器有不同的命令提示状态。
                      <Switch>。在交换机正常启动后,用户使用终端仿真软件或Telent登录交换机,可自动进入用户配置模式,这时用户可以查看路由器的连接状态,访问其他网络和主机,但不能看到和更改路由器的设置内容。
                      [Switch]。路由器处于系统视图命令状态,在<Switch>提示符下输入system-view,可进入系统视图状态,这时不仅可以执行所有的用户命令,还可以看到和更改路由器的设置内容。
                      [Switch-vlan]。路由器处于具体的业务视图状态,在[Switch]提示符下输入需要配置的业务命令,可进入该状态。退出具体的业务输入quit。
                      在开机自检时,按Ctrl+Break组合键可进入BootROM menu状态,这时路由器不能完成正常的功能,只能进行软件升级和手工引导,或者进行路由器口令恢复时要进入该状态。
                      路由器的基本配置
                      配置enable口令、enable密码和主机名。在路由器中同样可以配置启用口令(enable password)和启用密码(enable secret),一般情况下只需配置一个就可以,当两者同时配置时,后者生效。这两者的区别是启用口令以明文显示,而启用密码以密文形式显示。主机名及路由器口令的设置和上一节对交换机配置的主机名及口令相同,这里不再赘述。
                      配置路由器以太网接口。路由器一般提供一个或多个以太网接口槽,每个槽上会有一个以上以太网接口。以太网接口因此而命名为{Ethernet槽位/端口}或{GigabitEthernet槽位/端口},例如Ethernet0/0、GigabitEthemet0/0/1,也可缩写为Eth0/0、GE0/0/1。
                      对以太网接口做如下配置:
                      
                      
                      由于同一厂商的网络设备往往采用一种网络操作平台,交换机、路由器的配置以及命令的使用都是相似的。
                      批量配置技术
                      大型网络的组网和网络管理中都会同时用到多个路由器和交换设备,可以通过批量配置技术快速配置多台网络设备。例如,华为交换机AR系列路由器通过Auto-Config功能实现设备的批量配置,Auto-Config是指新出厂或空配置设备加电启动时采用的一种自动加载版本文件(包括系统软件、补丁文件、配置文件)的功能。
                      如下图所示,RouterA、RouterB和RouterC运行Auto-Config功能后,设备作为DHCP客户端定时向DHCP服务器发送DHCP请求报文以获得配置信息,然后DHCP服务器向待配置设备响应DHCP应答报文,报文内容包括分配给待配置设备的IP地址、文件服务器的IP地址、文件服务器的登录方式、版本文件的配置信息(此信息也可以通过中间文件获取,中间文件需要预先编辑存放在文件服务器),最后设备根据收到的DHCP响应报文中携带的配置信息,从指定的文件服务器自动获取版本文件,并设置为下次启动加载的文件,待设备重启后,设备就实现了版本文件的自动加载。
                      
                      批量配置
                      若网络中有一台SFTP服务器(GE0/0/1,IP地址172.16.100.100/24),一台DHCP服务器(GE0/0/1,IP地址172.16.100.1/24用于与SFTP互联;Eth1/0/1-3,VLANIF10,IP地址172.16.200.100/24用于与待配置路由器互联),3台待配置路由器。举例说明配置同网段Auto-Config步骤。
                      步骤1:配置SFTP服务器。
                      
                      
                      步骤2:将配置文件、系统软件和补丁文件上传至SFTP服务器的工作目录flash:\ autoconfig上(上传步骤略)。
                      步骤3:配置DHCP服务器(以AR2220为例)。
                      
                      步骤4:待配置设备RouterA、RouterB和RouterC上电启动,Auto-Config流程开始运行。
                      步骤5:检查配置结果。
                      
                      配置静态路由
                      通过配置静态路由,用户可以人为地指定对某一网络访问时所要经过的路径,网络结构比较简单,且一般到达某一网络所经过的路径唯一的情况下采用静态路由。
                      1)IPv4静态路由设置
                      在创建静态路由时,可以同时指定出接口和下一跳。对于不同的出接口类型,也可以只指定出接口或只指定下一跳。
                      .对于点到点接口,指定出接口。
                      .对于NBMA(Non Broadcast Multiple Access)接口,指定下一跳。
                      .对于广播接口(如以太网接口),指定下一跳。
                      在创建相同目的地址的多条静态路由时,如果指定相同优先级,则可实现负载分担;如果指定不同优先级,则可实现路由备份。
                      在创建静态路由时,如果将目的地址与掩码配置为全零,则表示配置的是IPv4静态缺省路由。缺省情况下,没有创建IPv4静态缺省路由。
                      操作步骤如下。
                      (1)执行命令system-view,进入系统视图。
                      (2)配置IPv4静态路由。
                      ①在公网上配置IPv4静态路由:
                      
                      ②在VPN实例中配置IPv4静态路由:
                      
                      
                      2)IPv6静态路由设置
                      在创建静态路由时,可以同时指定出接口和下一跳。对于不同的出接口类型,也可以只指定出接口或只指定下一跳。
                      .对于点到点接口,指定出接口。
                      .对于NBMA(Non Broadcast Multiple Access)接口,指定下一跳。
                      .对于广播类型接口,指定出接口。如果也指定下一跳,下一跳地址可以不是链路本地地址。
                      在创建相同目的地址的多条静态路由时,如果指定相同优先级,则可实现负载分担;如果指定不同优先级,则可实现路由备份。
                      在创建静态路由时,如果将目的地址与掩码配置为全零,则表示配置的是IPv6静态缺省路由。缺省情况下,没有创建IPv6静态缺省路由。
                      操作步骤如下。
                      (1)执行命令system-view,进入系统视图。
                      (2)配置IPv6静态路由。
                      ①在公网上配置IPv6静态路由:
                      
                      ②在VPN实例中配置IPv6静态路由:
                      
   题号导航      2012年下半年 网络工程师 上午试卷 综合知识   本试卷我的完整做题情况  
1 /
2 /
3 /
4 /
5 /
6 /
7 /
8 /
9 /
10 /
11 /
12 /
13 /
14 /
15 /
 
16 /
17 /
18 /
19 /
20 /
21 /
22 /
23 /
24 /
25 /
26 /
27 /
28 /
29 /
30 /
 
31 /
32 /
33 /
34 /
35 /
36 /
37 /
38 /
39 /
40 /
41 /
42 /
43 /
44 /
45 /
 
46 /
47 /
48 /
49 /
50 /
51 /
52 /
53 /
54 /
55 /
56 /
57 /
58 /
59 /
60 /
 
61 /
62 /
63 /
64 /
65 /
66 /
67 /
68 /
69 /
70 /
71 /
72 /
73 /
74 /
75 /
 
第29题    在手机中做本题